Способы предотвращения электрохимической коррозии

1 способ. Пассивная защита от коррозии – изолирование поверхность металла с помощью диэлектрического покрытия. В этом случае выход электронов в раствор исключен.

Именно этот способ применяют, нанося защитные полимерные покрытия на трубопроводы, используемые для укладки в грунте.

2 способ. Активная защита от коррозии – для защиты металла трубы на дефектных участках изоляции применяется второй способ – так называемая катодная защита от коррозии.

При электрохимической коррозии разрушение металла происходит за счет выхода ионов металла в раствор. Затормозить этот процесс можно за счет «насыщения» металла электронами, которые в паре с катионами раствора создадут барьер, препятствующий выходу ионов.

ris-2-1

Виды активной (катодной) защиты от электрохимической коррозии

    Добиться такого состояния можно двумя способами:
  1. Протекторная защита (Protection – защита) – к защищаемому металлу присоединяют другой металл с более электроотрицательным зарядом. Потенциал железа (основа трубной стали) в грунте от −550 до −750 мВ. Применяемый в качестве протектора магний Мg в этих условиях имеет потенциал −1600 мВ (м.с.э.). При замыкании металлов с разными потенциалами в электролите (грунтовый электролит) будет происходить стекание тока с магния на железо, при этом магний будет растворяться, а железо окажется «под защитой».
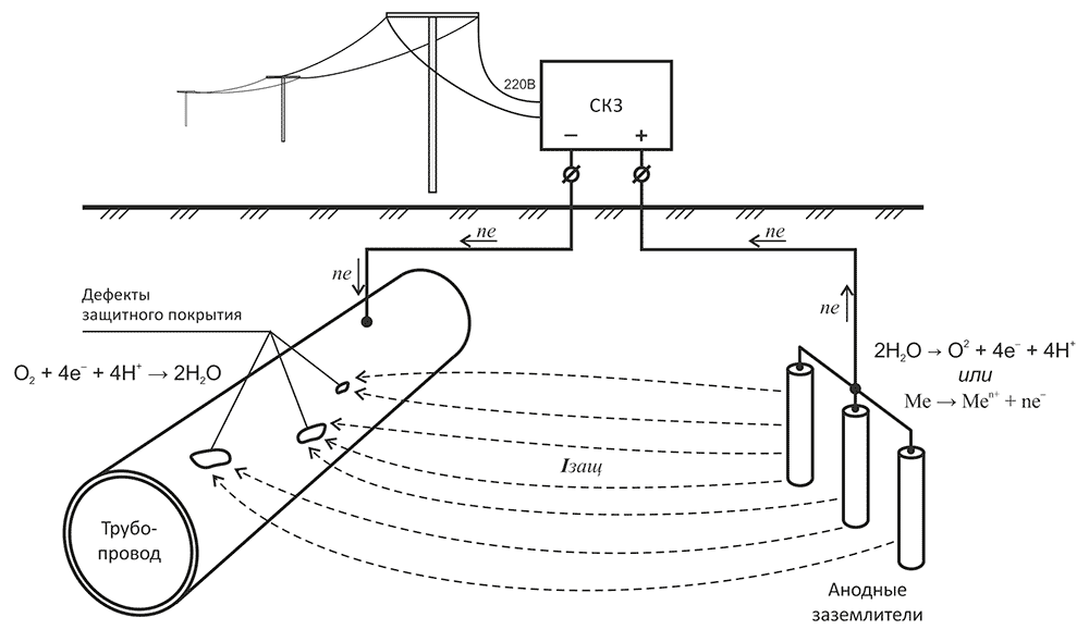
  2. Катодная защита с использованием внешнего источника тока – защищаемый металл «насыщают» электронами, подключив к отрицательному полюсу источника постоянного тока. К положительному полюсу источника тока подключается анодное заземление. Электрическая цепь замыкается через грунт.
ris-2-3

Схема катодной защиты

При катодной защите в результате прохождения постоянного тока через грунт, происходит электролиз грунтового электролита. Положительно заряженные ионы (катионы) перемещаются к катоду (трубопроводу), а отрицательно заряженные ионы (анионы) движутся в направлении от катода к аноду (анодному заземлителю).

Преобразование тока осуществляется за счет следующих электрохимических реакций.

На металле трубопровода в местах нарушения защитного покрытия протекает реакция восстановления растворенного в воде кислорода:

О2 + 4е- + 4Н+ → 2Н2О (К)

На анодном заземлении возможно протекание следующих реакций:

1. Образование кислорода из Н2О по реакции:

2О → О2 + 4е- + 4Н+ (А.1)

2. Реакция растворения материала анода:

Ме → Меn+ + nе- (А.2)

Для сплавов на основе железа (ферросилид, магнетит) реакция А.2 принимает вид:

Fe → Fe2+ + 2е-